The NSOPA810x series is a low voltage (1.8 V to 5.5 V, general purpose, low-power operational amplifiers (op amps) with rail-to-rail input and output swing capabililties. These op amps provide a cost-effective solution for low-voltage operation and high capacilive-load drive are reguired. The capacitive-oad drive of the NSOPA810x series is 1nF, and the resistive open-loop output impedance makes stabilization easier with much higher capacitive loads. The robust design of the NSOPA810X series simplifies cicuit desian. The op amps feature unity-gain stabilty, an integrated RFl and EMl reiection fiter, and no-phase reversal in overdrive conditions. Micro-size packages, such as Sc70-5, along with industry-standard packages such as SOT23-5L, SOP, MSOP, and TSSOP packages.
Product Features
• Supply voltage range: 1.8V to 5.5V
• Rail-to-rail input and output
• Low input offset voltage: ±0.3 mV (typical)
• Gain-bandwidth product: 10 MHz
• Unity-gain stable
• AEC-Q100 qualified for automotive applications
• Low broadband noise: 12 nV/√ Hz (typical)
• Low input bias current: 5 pA (typical)
• Low quiescent current: 680 μACh (typical)
• Internal RFl and EMl filter
• Extended temperature range: -40°C to 125°C
Application
• Sensor signal conditioning
• Power Delivery: UPS/Power module/Solar
• Inverter/Servo/PLC/Motor driver
• Low-side current sensing
• ASlC Input or Output Amplifiers
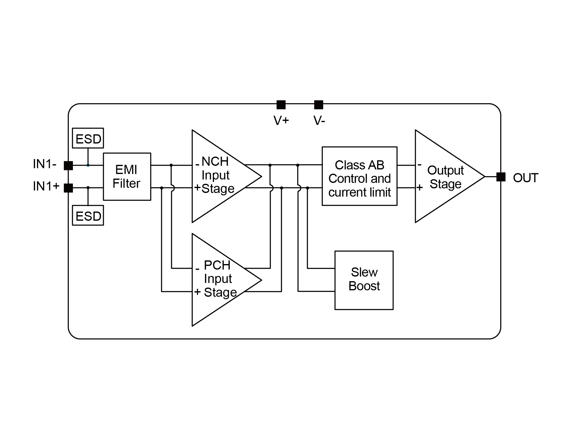
Functional Block Diagram


For more product information, please contact us.