尊龙凯时 - 人生就是搏!尊龙凯时人生就是搏

我们非常重视您的个人隐私,当您访问我们的网站时,请同意使用的所有cookie。有关个人数据处理的更多信息可访问《隐私政策》

产品中心
智能隔离驱动

产品中心

光耦兼容的智能隔离式栅极驱动器

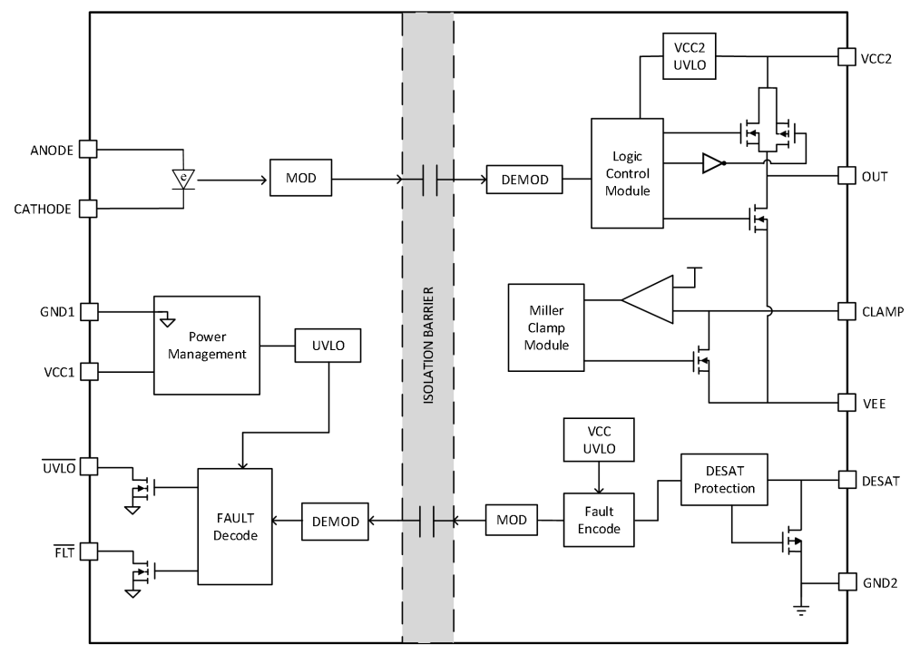
NSI68515是光耦兼容的智能隔离式单通道栅极驱动器,可用于驱动IGBT,功率MOSFET和SiC MOSFET等功率晶体管,并为其提供保护。NSI68515 可以提供最大+5A/-5A的拉灌电流能力,驱动器侧电源电压最大为32V,而输入侧则接受3V至5.5V的电源电压。它可以提供的优秀的保护功能,如UVLO、Miller钳位、DESAT保护、软关断功能等,且检测到短路故障或欠压发生时,通过单独的引脚报警。它可提供报警自动复位版本,以及轨到轨输出和非轨到轨输出版本选择。它支持150kV/μs的最小共模瞬变抗扰度(CMTI,提高系统鲁棒性。 NSI68515 驱动电流大,电源电压范围宽,CMTI高,且具有出色的保护功能,适用于高可靠性、高功率密度和高效率的电机驱动、逆变器、开关电源系统等系统。

产品特性

•  智能隔离单通道驱动器

•  输入侧电源电压: 3V至5.5V

•  驱动器侧电源电压:最大耐压35V,具有UVLO功能

•  峰值5A/5A拉灌电流能力

•  高CMTI:150kV/us

•  100ns典型传播延迟

•  100ns最大脉冲宽度失真

•  接受最小输入脉冲宽度40ns

•  NSI68515LC/UC/AC 轨对轨输出,NSI68515AC非轨对轨输出

•  NSI68515AC/RC 支持自动复位

•  保护模式:

   米勒钳位 4.0A

   DESAT保护,阈值6.5V

   支持软关断功能,软关断电流140mA

   支持报警反馈

•  工作温度: -40℃~125℃

安全认证

•  UL1577认证: 5.7KVrms (认证中)

•  CQC认证:符合GB4943.1-2011 (认证中)

•  CSA认证:组件符合5A (认证中)

•  VDE认证:DIN V VDE V 0884-11:2017-1 (认证中)

应用场景

•  EV 电驱系统

•  空调压缩机

•  DC-AC太阳能逆变器

•  电机驱动

•  UPS和电池充电器

功能框图

nsi68515.png

nsi68515 2.png



如您需要咨询产品更多信息,请点击“尊龙凯时人生就是搏”,我们将尽快回复您!

尊龙凯时人生就是搏